Sony 近期公開一項與相機取景器相關的新專利,內容聚焦於如何在維持裝置小型化的同時,提升視線偵測的精準度。這項技術的目標,是讓相機能更準確地判斷攝影者注視的位置,進而改善自動對焦的反應與穩定性。
從觀景到互動
傳統的取景器主要用於協助使用者構圖、對焦與檢視畫面。隨著電子化與智慧化的發展,取景器不再只是單純的觀景窗,而成為影像裝置與使用者互動的重要介面。Sony 所提出的這項技術,正是希望進一步強化取景器在拍攝過程中的功能性。
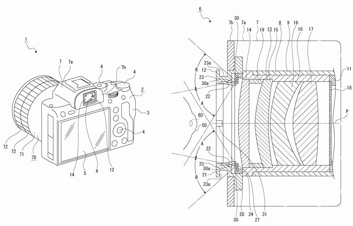
目前市面上部分相機已具備視線偵測功能,能藉由紅外線光源與感測器的組合,分析使用者眼球的注視方向。其基本原理是:紅外線從發光部射出,經角膜反射後再由受光部接收,系統根據反射位置推算出瞳孔的方向,藉此讓自動對焦點隨視線移動。
小型化的挑戰
不過,當視線偵測模組被安裝進取景器內部時,就會面臨空間受限的問題。為了容納發光與感光元件,取景器體積容易變大,也使整台相機的設計更為笨重。另一方面,如果紅外線光線分布範圍過廣,反射訊號容易受到眼皮或眼球形狀等個人差異影響,導致感測器無法準確接收訊號,使對焦精度下降。
Sony 在這份專利中提出的設計重點,是讓紅外線光線更集中於瞳孔周圍的狹小範圍,以減少外部干擾。然而,若光源位置太接近取景光軸,可能會遮擋使用者的視線。Sony 的構想在於透過更巧妙的光學配置,使光源位置得以靠近光軸、但不影響拍攝者的觀景體驗,達成「小型化與精準度」的雙重目標。
是否能更具有實用性是觀察重點
不過 Sony 並非眼控自動對焦技術的先驅,Canon 早在底片時代就已經率先推出這個功能了。眼控自動對焦技術最早出現在 1992 年發表的 EOS 5 底片相機上,之後 1998 年推出的 EOS 3 則將該功能的實用性再次提升。進入無反相機時代,睽違二十多年的眼控自動對焦技術,終於在 EOS R3 回歸,而隨後發表的 EOS R1 和 EOS R5 Mark II 更是搭載改良版的眼控自動對焦系統,透過新開發的光學系統和視線偵測演算法,讓該功能相較以往更為實用。
Canon 的眼控自動對焦已經是當前業界領先的直覺操作技術,不過,由於該系統仍需較大的傳感器與演算模組,因此取景器結構相對複雜,對使用者眼型、瞳孔大小等個體差異仍需校正。相比之下,Sony 這項新專利更著重在光學與結構層面的優化,試圖以更精簡的硬體設計維持偵測精度,並避免取景器過於龐大。若此設計日後實際應用,有望在「輕量化與一致性」上取得優勢,不僅能降低硬體複雜度,也可能提升相容性與使用舒適度。
via:asobinet

